您現在所在位置:大田閥門 >> 襯膠閥門(襯里閥門)
內螺紋隔膜閥專用于控制一般腐蝕性介質,可供各類管路或設備上作啟閉及節流用。

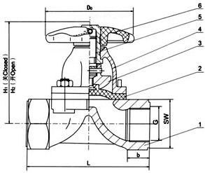
部件列表:1.閥體 2.隔膜 3.閥瓣 4.閥桿 5.閥蓋 6、手輪
閥體:鑄鐵、球墨鑄鐵、碳鋼、不銹鋼
閥蓋:鑄鐵、球墨鑄鐵、碳鋼、不銹鋼
隔膜:橡膠
閥瓣:鑄鐵、不銹鋼
閥桿:碳鋼、不銹鋼
手輪:鑄鐵
襯里層:電火花檢測
試驗與檢驗按BS6755標準
公稱壓力:PN(MPa)
閥體:PN×1.5
密封:PN×1.1
| 公稱通徑 | 公稱壓力 MPa |
工作壓力 MPa |
L mm |
SW mm |
b mm |
H1 mm |
H2 mm |
D0 mm |
質量 Kg/kilos |
|
|---|---|---|---|---|---|---|---|---|---|---|
| DN | G | |||||||||
| 8 | 1/4 | 1.6 | 1.6 | 50 | 20 | - | 60 | 66 | 45 | 0.6 |
| 10 | 3/8 | 50 | 24 | - | 45 | 0.7 | ||||
| 15 | 1/2 | 65 | 38 | 8 | 84 | 92 | 50 | 0.8 | ||
| 20 | 3/4 | 85 | 40 | 12 | 93 | 103 | 50 | 1.1 | ||
| 25 | 1 | 110 | 48 | 18 | 106 | 120 | 66 | 1.9 | ||
| 32 | 1 1/4 | 120 | 58 | 18 | 137 | 156 | 96 | 3.3 | ||
| 40 | 1 1/2 | 140 | 69 | 18 | 142 | 163 | 96 | 4.2 | ||
| 50 | 2 | 165 | 85 | 20 | 167 | 192 | 96 | 5.8 | ||
| 65 | 2 1/2 | 1.0 | 203 | 60 | 20 | 190 | 225 | 165 | 9.5 | |
| 80 | 3 | 254 | 105 | 32 | 206 | 246 | 230 | 16.2 | ||
主營產品:氣動調節閥 - 電動調節閥 - 自力式調節閥
版版權所有 © 上海大田閥門管道工程有限公司
地址:上海市浦東新區川宏路528號宏圖大樓5樓
