您現在所在位置:大田閥門 >> 襯氟閥門(襯里閥門)
設計與制造:BS5156
結構長度:BS5156
法蘭連接尺寸:BS4504、DIN2532、JIS B2212、ANSI B16.1、IS02004
EG641F(無襯里)、EG641Fs(MS)(襯氟塑料)氣動隔膜閥(往復式無手操型)專用于控制非腐蝕性或強腐蝕性介質,閥體內腔表面無襯里或覆有可供選擇的各種氟塑料,適用于不同工作溫度和流體管路。
適用溫度:≤85℃、≤100℃、≤120℃、≤150℃、(可按照襯里和隔膜材料)
壓力等級:0.6、1.0、1.6
襯里層:電火花檢測
實驗與檢驗按BS6755標準
公稱壓力:PN閥體:PN×1.5 密封:PN×1.1
材料: 閥體:鑄鐵、球墨鑄鐵、碳鋼、不銹鋼 閥蓋:鑄鐵、球墨鑄鐵、碳鋼、不銹鋼
襯里:無襯里、氟塑料 隔膜:氟塑料
閥瓣:鑄鐵、碳鋼 氣缸:鋁合金、碳鋼 氣動薄膜:橡膠 閥桿:碳鋼、不銹鋼 手輪:鑄鐵
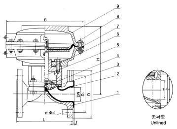
部件列表:
1、閥體2、閥體襯里3、隔膜4、閥瓣5、閥桿6、閥蓋7、氣缸8、氣動薄膜9、氣缸蓋

| DN | 公稱壓力 | 工作壓力 | L | D | D1 | n-Фd | f | H | D0 | B | 代號 | 氣源 壓力 |
氣源接頭 | 耗氣量 | 重量 |
|---|---|---|---|---|---|---|---|---|---|---|---|---|---|---|---|
| 15 | 1.6 | 1.6 | 108 | 95 | 65 | 2 | |||||||||
| 20 | 117 | 105 | 75 | 4-13.5 | 2 | 136 | 140 | 168 | 54 | 0.3 | 1/8 | 163.87 | 5 | ||
| 25 | 127 | 115 | 85 | 4-13.5 | 2 | 144 | 140 | 168 | 54 | 0.3~0.4 | 1/8 | 196.65 | 6.2 | ||
| 32 | 146 | 140 | 100 | 4-17.5 | 2 | 209 | 140 | 260 | 55 | 0.3~0.4 | 1/8 | 229.4 | 7 | ||
| 40 | 259 | 150 | 110 | 4-17.5 | 2 | 227 | 140 | 260 | 55 | 0.3~0.4 | 1/4 | 1458.7 | 13 | ||
| 50 | 190 | 165 | 125 | 4-17.5 | 2 | 231 | 140 | 260 | 55 | 0.3~0.4 | 1/4 | 3162.7 | 23 | ||
| 65 | 1.0 | 1.0 | 216 | 185 | 145 | 4-17.5 | 2 | 252 | 140 | 260 | 55 | 0.3~0.4 | 1/4 | 3243 | 27 |
| 80 | 254 | 200 | 160 | 8-17.5 | 2 | 285 | 165 | 425 | 56 | 0.4~0.5 | 3/8 | 6636.8 | 56 | ||
| 100 | 305 | 220 | 180 | 8-17.5 | 2 | 360 | 280 | 425 | 57 | 0.4~0.5 | 3/8 | 6948 | 60 | ||
| 125 | 356 | 250 | 210 | 8-17.5 | 3 | 370 | 280 | 425 | 57 | 0.4~0.5 | 3/8 | 7374.2 | 68 | ||
| 150 | 406 | 285 | 240 | 8-22 | 3 | 462 | 280 | 549 | 58 | 0.5 | 3/8 | 10652 | 115 | ||
| 200 | 0.6 | 521 | 340 | 295 | 8-22 | 3 | 544 | 280 | 549 | 58 | 0.6 | 3/8 | 16715 | 196 | |
| 250 | 635 | 395 | 350 | 5 |
溫馨提示:
本文中所有文字、數據、圖片均只適用于參考。需要查看更多的EG641F(無襯里)、EG641Fs(MS)(襯氟塑料)氣動隔膜閥(往復式無手操型)性能參數、結構尺寸參數、價格等詳情,或要求印刷樣本,請聯系我們。
主營產品:氣動調節閥 - 電動調節閥 - 自力式調節閥
版版權所有 © 上海大田閥門管道工程有限公司
地址:上海市浦東新區川宏路528號宏圖大樓5樓
